|
Dokumentation zum Amateurfunkgerät ATLAS 210X
Der ATLAS 210X war zu seiner Zeit einer der kompakten Kurzwellentransceiver wenn nicht sogar der kompakteste TRX schlechthin. Sein Entwickler war Herbert G. Johnsen, W6KQI, Gründer der Marken SWAN und ATLAS. Der Sitz des Unternehmens war in 417 Via Del Monte, Oceanside, California 92054.
Der ATLAS 210X wurde von 1975 - 1979 produziert. Danach kam der ATLAS 210X Limited im Jahr 1979. Allerdings nur für ein Jahr, denn dann wurde die Produktion eingestellt. Im gleichen Zeiträumen wurde auch der ATLAS 215X (1975 - 1979) sowie der ATLAS 215X Limited (1979) produziert. Auch bei diesem Gerät wurde 1979 die Produktion eingestellt. Im WEB konnte ich eine Werbeanzeige und ein Kurzbericht finden.
Auf einer Verkaufsplattform im WEB wurde im März 2023 ein ATLAS 210X im optisch guten Zustand angeboten. Da ich mich schon immer für dieses Gerät interessiert hatte, kontaktierte ich den Verkäufer und alsbald war man sich handelseinig. Der TRX sollte laut Angabe des Verkäufers funktionieren, wobei er meinte, dass ein Abgleich sicherlich nicht schaden würde. Als ich das Gerät mit der Original Bedienungsanleitung bekam, bestätigte sich der optische Eindruck. Die Inbetriebnahme im reinen Empfangsbetrieb erfolgte noch am selbigen Abend und ja, der Transceiver konnte recht gut empfangen. Einzig beim weiteren aufdrehen des A.F.GAIN Reglers war ein starkes Pfeifgeräusch zu hören. Nach öffnen des Gehäuses war ein durchgebrannter TANTAL Kondensator zu sehen, in dessen Umfeld auch zwei ELKOS in Mitleidenschaft gezogen wurden. Trotz dieses Defektes war der Empfang recht ordentlich. Der defekte Kondenstor und seine Kollegen sitzen auf dem PC-300D Board. Im Innenleben präsentiert der TRX drei Steckboards. Es handelt sich dabei um das RF MODULE PC-100C, das I.F.MODULE PC-200D und das erwähnte A.F.MODULE PC-300D. Der ATLAS 210X und sein Bruder der 215X sind im Modular Design konstruiert.
Das von mir gekaufte Gerät hat auch eine interessante Geschichte vorzuweisen. Gekauft wurde es 1978 von Dipl. Ing. Hans-Georg Rabe - DL8RA, (geb.16.07.1938 / verst. 28.09.2015), der zum Botschaftspersonal der Deutschen Botschaft in Amman (Jordanien) gehörte. Seine dortige Funktion ist nicht bekannt. Ob er während seiner Schaffenszeit auch zum dortigen weltweit bekannten Funkamateur JY1 (kein Suffix), dem König von Jordanien (Hussein), Kontakt hatte entzieht sich meiner Kenntnis. Es ist mit großer Wahrscheinlichkeit davon auszugehen, dass DL8RA aus Amman Funkbetrieb machte, da die Geräteunterlagen teilweise mit dem Stempel der Deutschen Botschaft versehen waren. Irgendwann ging das Gerät auf eine lange Reise, genauer nach Rio de Janeiro wo Hans-Georg Rabe, der sich selbst Hanno nannte, von 1986 - 1989 aktiv war. Hans-Georg Rabe hat auch einen Sohn (DH9RA) der im Ortsverband H24 aktiv mitarbeitet. Sein Sohn heißt tatsächlich auch Hanno, so dass es bei einer Internetrecherche auch zu Verwechslungen kommen kann. Zu welchem Zeitpunkt das Gerät dann wieder nach Deutschland kam ist nicht bekannt. Der Verkäufer bestätigte mir, dass das Gerät aus einem Nachlaß stammt. Ob es sich dabei um den Nachlass von Hans-Georg Rabe (alias Hanno) oder um eine andere Person handelt, ist nicht ermittelt worden.
Der Transceiver soll wieder voll funktionsfähig hergestellt werden, so dass ich zuerst mit der Reparatur des defekten Boards begonnen habe.

Nach erfolgter Reparatur trat das Pfeifgeräusch bei voll aufgedrehten A.F.GAIN Regler nicht mehr auf. Der TRX lief auch nach mehreren Stunden im Stand-By Betrieb frequenzstabil.
Das damalige Zubehör umfasste folgendes:
- DD-6 eine digitale Frequenzanzeige als zusätzliches Gerät
- DMK eine Halterung für den mobilen Betrieb in die der TRX eingebaut wurde
- MT-1 eine Antennenanpassbox
- PC-120 ist ein Noise blanker
- 220-CS die Halterung für den stationären Betrieb mit eingebautem Lautsprecher
- 200-PS separates Netzteil
- 206 externer VFO
Die Halterung für den mobilen Betrieb (DMK) habe ich inzwischen auf EBAY Frankreich entdeckt und gekauft. Die Antennenanpassbox (MT-1) wird immer mal wieder in EBAY USA angeboten. Dort habe ich schon ein Auge darauf geworfen.
Durch mein gut sortiertes Archiv an Funkkatalogen aus vergangenen Jahrzehnten konnte ich im Funk- und Zubehörkatalog von Ing. Bauer aus Bamberg, im Katalog von 1977, nachfolgende Abbildung eines ATLAS 210 bzw. ATLAS 215 einscannen. Dabei handelt es sich nicht um das Modell mit dem Zusatz “X”, sondern um Vorgängerversionen. Die Katalogqualität ist nicht die Beste und somit ist der SCAN auch nicht wirklich gut gelungen. Ich möchte die Seiten 6 und 7 bei Gelegenheit noch einmal hochauflösender scannen. Vorläufig ist eben diese Variante für den Leser sichtbar.

Darstellung der Mikrofonanschlussbelegung des ATLAS 210X. Diese Anschlussbelegung über einen 6,35mm Klinkenstecker war früher auch bei anderen Geräteherstellern ein weit verbreiteter Mikrofonanschluss.

Die Mobilhalterung ist inzwischen aus Frankreich eingetroffen und in einem schlechten Zustand. Sie muss komplett zerlegt, gereinigt und aufgearbeitet werden. Ein Projekt das in nächster Zeit in Angriff genommen wird.
Hier die ersten Bilder - da gibt es einiges zu tun.



Inzwischen habe ich mich natürlich auch mit der Frage des passenden Mikrofons beschäftigt Der ATLAS 210X wurde seinerzeit ohne Mikrofon ausgeliefert, sprich es wurde auch kein passendes vom Hersteller angeboten. Das war durchaus üblich, denn wer Funkamateur werden wollte musste CW können. Die Taste war vorrangiger und der Mikrofonanschluss nur ein Zusatz. Heute werden vermutlich mehr Sprach- als CW-QSO´s geführt. Heute wird auch bei den Geräten das passende Mikrofon mitgeliefert, früher war es eben anders. Durch meinen bereits erwähnten Sammelbestand an alten Katalogen konnte ich zumindest Mikrofone aus dieser Zeit bestimmen, die auch zum Gerät passen könnten. Ich fand ein altes PEWE Standmikrofon das ich an den TRX anschlussfertig machen wollte. Letztendlich kam es dann doch anders, so dass ich ein Handmikrofon, das ebenfalls aus dem Zeitraum des Transceivers stammte, verwendete. Es ist ein SHURE 401B.
Der Atlas 210X mit Shure Mikrofon.


Die Mobilhalterung wurde inzwischen mehreren Schleif- und Lackiervorgängen unterzogen und sieht ganz passabel aus. Sämtliche Schrauben wurden erneuert.

Leider ist das nachfolgende Bild etwas unscharf. Alle Kontakte mehrfach gereinigt und dann wieder in die Mobilhalterung eingebaut.

Auf einem Bein kann man nicht stehen und so ergab sich, dass ich Anfang des Jahres 2024 wieder zu einem ATLAS 210X kam. Allerdings hatte der schon werkseitig eine Änderung, mit der er so ausgeliefert wurde. Der TRX wurde mit und ohne NB-Schalter ausgeliefert. Bei dem oberen Gerät, das ich ausführlich beschrieben habe, besitzt der Transceiver den NB-Schalter. Bei dem nun nachfolgenden Gerät existiert er nicht und wurde mit einer silberfarbenen Abdeckung versehen. Beide Geräte sind so auf dem Gebrauchtmarkt erhältlich. Ersatzteile sind nur schwer zu besorgen. Natürlich wurde auch der zweite Transceiver gereinigt und einem Sende- und Empfangstest unterzogen. Das Gerät war in der optional erhältlichen Stationskonsole eingebaut und hat deshalb keine Standfüße. Die Bohrungen für die Füße sind vorhanden und so werde ich nach Standfüßen im WEB suchen. Mein erster TRX hat sie ja und so sehe ich welche Abmessungen ich benötige, damit die neuen Standfüße auch dem Stil der Zeit entsprechen. Alternativ könnte ich den TRX auch in die restaurierte Mobilkonsole einbauen - eine Möglichkeit.
Nun die Bilder des anderen Gerätes:

Gut das es Bastelkisten gibt und man im Laufe der Jahre, auch durch Ankauf von alten Sammlungen, sich einen Ersatzteilbestand aufgebaut hat, der einen gewissen Umfang hat. So fand ich im Fundus passende Standfüße, noch original verpackt. Das Projekt Atlas 210X ist nun vorläufig abgeschlossen. Beide Geräte müssen noch neu eingestellt werden aber das kommt zu seiner Zeit.
Vorläufiges Ende der Berichtes Juli 2024.
Nachfolgend weitere Abbildungen aus der Betriebsanleitung:
DC Power Connection

Amplifier Connection

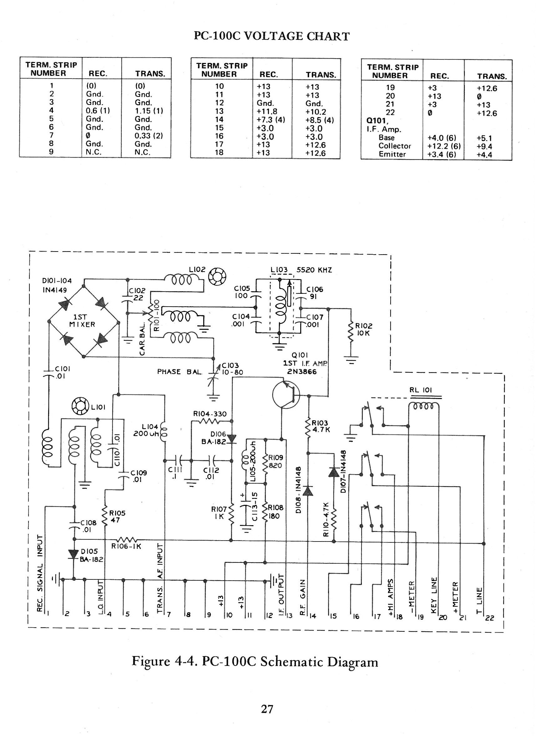
ATLAS PC-100C

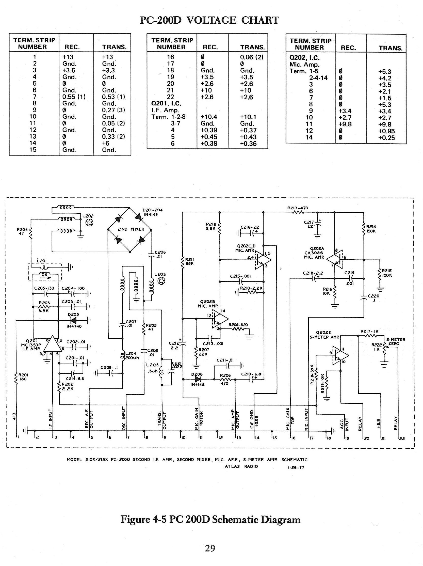
ATLAS PC-200D

ATLAS PC-300D

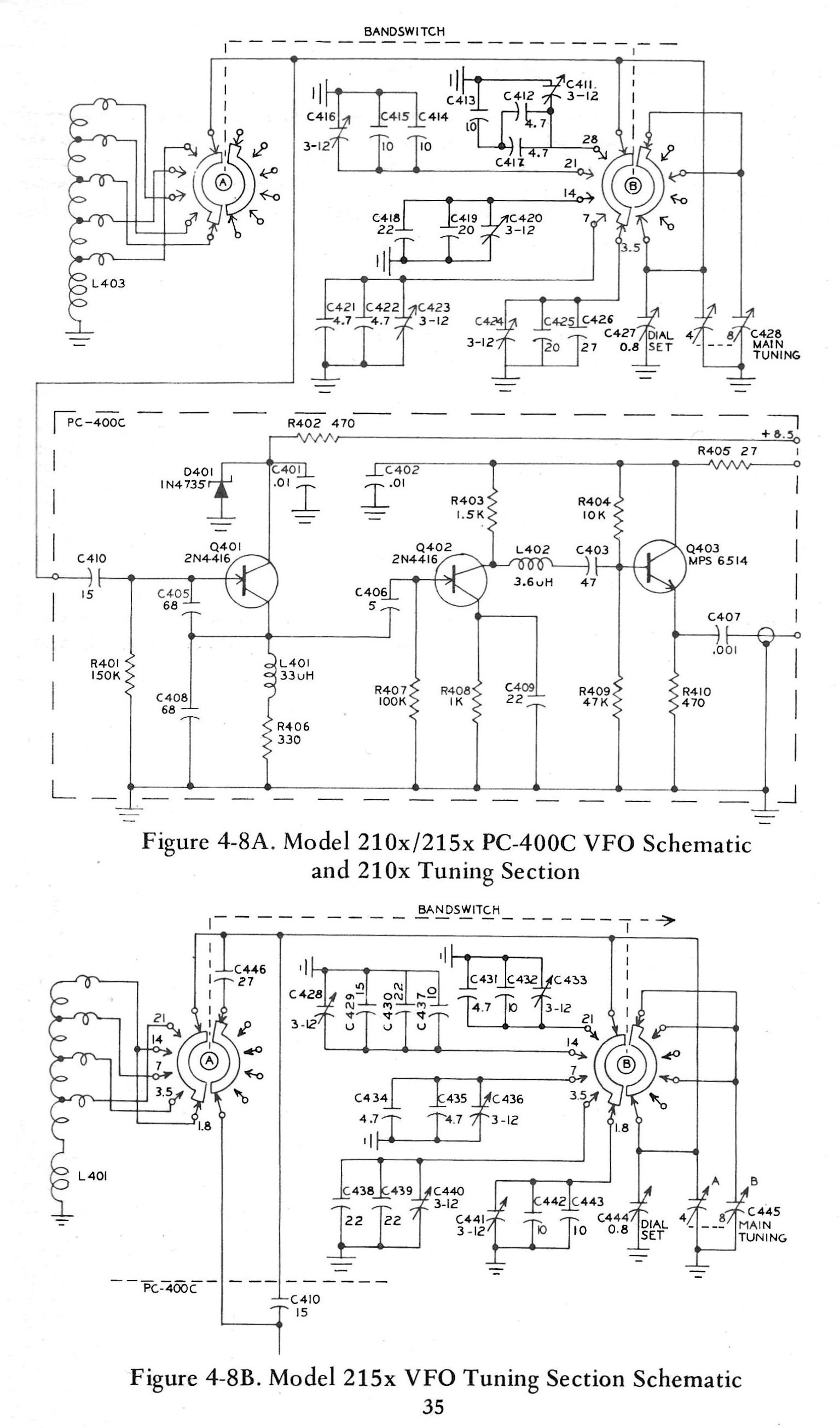
ATLAS PC-400C

ATLAS PC-500D

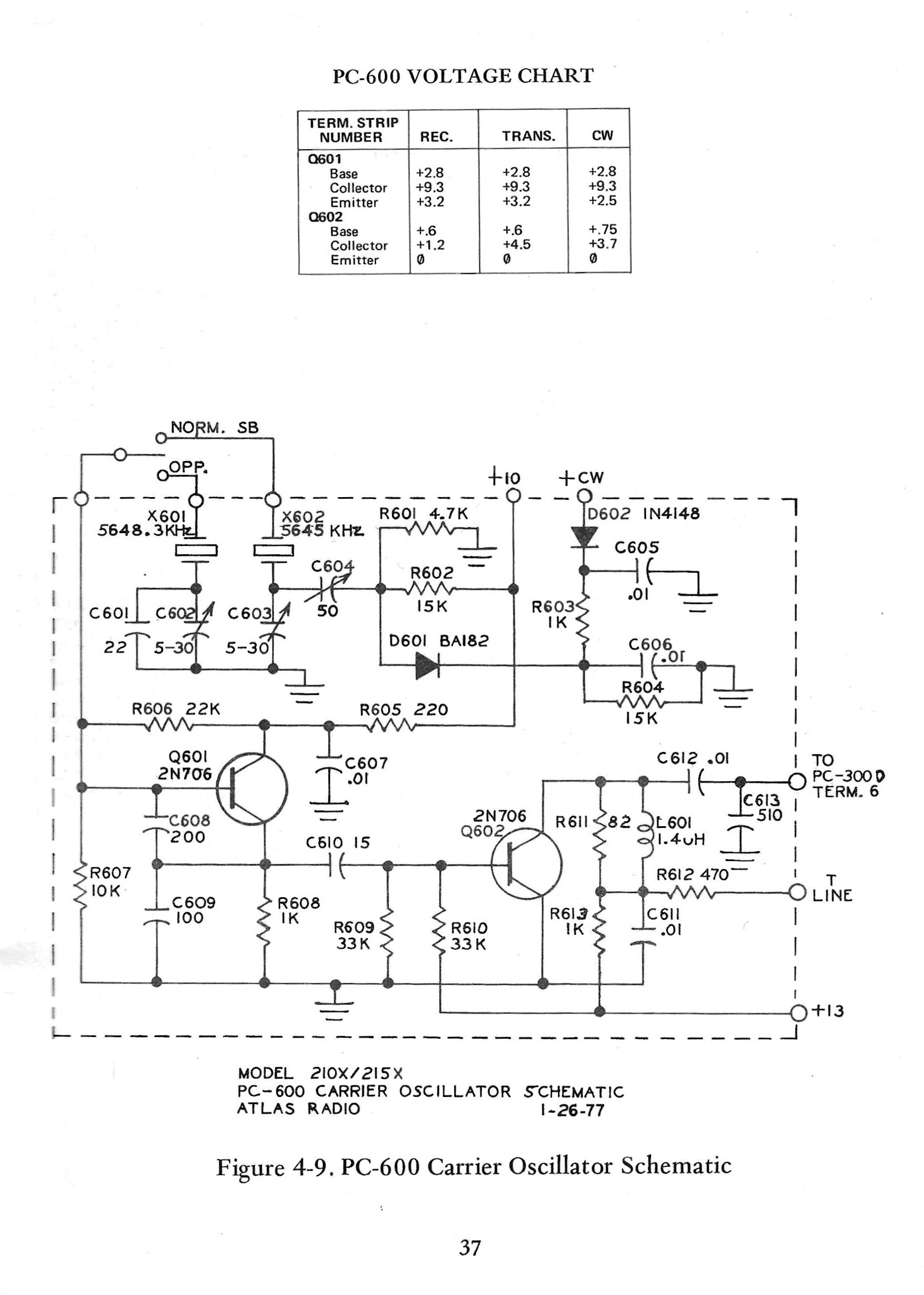
ATLAS PC-600

ATLAS PC-810C / PC-1200

ATLAS PC-900C

ATLAS PC-1010/1020

|