Direkt zum Seiteninhalt
Amateurfunk DL2AU
Menü überspringen
×
Startseite DL2AU
AMATEURFUNK
ATLAS
▼
ATLAS 210X
ATLAS 210X Betriebsanleitung
ATLAS 210X 12Volt Anschluß
KENWOOD
▼
KENWOOD TR-9000
KENWOOD TS-120 V
KENWOOD TS-515
KENWOOD TS-700
KENWOOD TS-820 S
KENWOOD Infos
▼
Filterdatenbank Auflistung DL2AU
Mikrofonbelegungen
Data Buchse Belegung
Bezeichnungen
Unterlagen Sammlung DL2AU
Gerätepreise Kenwood und Trio
TR-9000 Reparatur Frequenzanzeige
TS-590S Frequenzerweiterung
TS-590S Frontplatte wechseln
TS-590S mit ARCP Steuerungssoftware
TS-790E Frequenzerweiterung
TS-850S Reset und Menü
TS-850S Carrier Platine Austausch
TH-D72E Software Vorsicht Falle
SOMMERKAMP
▼
SOMMERKAMP TS-288A
SOMMERKAMP FL-200B
SOMMERKAMP FT-100
SWAN
▼
Infomationen zur Marke SWAN
TRIO
▼
Console HR-9
CB-FUNK
COLT
▼
COLT EXCALIBUR
COURIER
▼
COURIER CHIEF 23
CRT
▼
CRT SAMURAI
CRT ULYSSE
KAISER
▼
KAISER KE-9015D & CB-2200
KAISER KE-9018 & FZ 27 S
MADER
▼
MADER 1-625
ROYCE
▼
ROYCE 1-625
SOMMERKAMP
▼
SOMMERKAMP TS-610
SOMMERKAMP TS-788DX
STABO
▼
STABO xm4012
UNIVERSE
▼
UNIVERSE 5500
WAGNER
▼
WAGNER 510
EMPFÄNGER
AOR AR5000
AOR AR5000 Software
BEARCAT DX1000
HALLICRAFTERS SX-28
JRC NRD-535
MIKROFONE
ARGONNE
ASTATIC
BEYERDYNAMIC
CLARICON
FOSTER
KELLOGG
LAFAYETTE
MADER
MONACOR
MONARCH
PEWE
SHURE
SOMMERKAMP
STANDARD
ALLGEMEINES
Impressum
Museum
Shack
Station
Dokumente
Dokus Tipps
Contest
VHF-Direkt
Sommerkamp Historie
Amateurfunk DARC
Amateurfunk in Not- und Katastrophenfällen
Title
Menü überspringen
×
Startseite DL2AU
AMATEURFUNK
ATLAS
▼
ATLAS 210X
ATLAS 210X Betriebsanleitung
ATLAS 210X 12Volt Anschluß
KENWOOD
▼
KENWOOD TR-9000
KENWOOD TS-120 V
KENWOOD TS-515
KENWOOD TS-700
KENWOOD TS-820 S
KENWOOD Infos
▼
Filterdatenbank Auflistung DL2AU
Mikrofonbelegungen
Data Buchse Belegung
Bezeichnungen
Unterlagen Sammlung DL2AU
Gerätepreise Kenwood und Trio
TR-9000 Reparatur Frequenzanzeige
TS-590S Frequenzerweiterung
TS-590S Frontplatte wechseln
TS-590S mit ARCP Steuerungssoftware
TS-790E Frequenzerweiterung
TS-850S Reset und Menü
TS-850S Carrier Platine Austausch
TH-D72E Software Vorsicht Falle
SOMMERKAMP
▼
SOMMERKAMP TS-288A
SOMMERKAMP FL-200B
SOMMERKAMP FT-100
SWAN
▼
Infomationen zur Marke SWAN
TRIO
▼
Console HR-9
CB-FUNK
COLT
▼
COLT EXCALIBUR
COURIER
▼
COURIER CHIEF 23
CRT
▼
CRT SAMURAI
CRT ULYSSE
KAISER
▼
KAISER KE-9015D & CB-2200
KAISER KE-9018 & FZ 27 S
MADER
▼
MADER 1-625
ROYCE
▼
ROYCE 1-625
SOMMERKAMP
▼
SOMMERKAMP TS-610
SOMMERKAMP TS-788DX
STABO
▼
STABO xm4012
UNIVERSE
▼
UNIVERSE 5500
WAGNER
▼
WAGNER 510
EMPFÄNGER
AOR AR5000
AOR AR5000 Software
BEARCAT DX1000
HALLICRAFTERS SX-28
JRC NRD-535
MIKROFONE
ARGONNE
ASTATIC
BEYERDYNAMIC
CLARICON
FOSTER
KELLOGG
LAFAYETTE
MADER
MONACOR
MONARCH
PEWE
SHURE
SOMMERKAMP
STANDARD
ALLGEMEINES
Impressum
Museum
Shack
Station
Dokumente
Dokus Tipps
Contest
VHF-Direkt
Sommerkamp Historie
Amateurfunk DARC
Amateurfunk in Not- und Katastrophenfällen
Menü überspringen
×
Startseite DL2AU
AMATEURFUNK
ATLAS
▼
ATLAS 210X
ATLAS 210X Betriebsanleitung
ATLAS 210X 12Volt Anschluß
KENWOOD
▼
KENWOOD TR-9000
KENWOOD TS-120 V
KENWOOD TS-515
KENWOOD TS-700
KENWOOD TS-820 S
KENWOOD Infos
▼
Filterdatenbank Auflistung DL2AU
Mikrofonbelegungen
Data Buchse Belegung
Bezeichnungen
Unterlagen Sammlung DL2AU
Gerätepreise Kenwood und Trio
TR-9000 Reparatur Frequenzanzeige
TS-590S Frequenzerweiterung
TS-590S Frontplatte wechseln
TS-590S mit ARCP Steuerungssoftware
TS-790E Frequenzerweiterung
TS-850S Reset und Menü
TS-850S Carrier Platine Austausch
TH-D72E Software Vorsicht Falle
SOMMERKAMP
▼
SOMMERKAMP TS-288A
SOMMERKAMP FL-200B
SOMMERKAMP FT-100
SWAN
▼
Infomationen zur Marke SWAN
TRIO
▼
Console HR-9
CB-FUNK
COLT
▼
COLT EXCALIBUR
COURIER
▼
COURIER CHIEF 23
CRT
▼
CRT SAMURAI
CRT ULYSSE
KAISER
▼
KAISER KE-9015D & CB-2200
KAISER KE-9018 & FZ 27 S
MADER
▼
MADER 1-625
ROYCE
▼
ROYCE 1-625
SOMMERKAMP
▼
SOMMERKAMP TS-610
SOMMERKAMP TS-788DX
STABO
▼
STABO xm4012
UNIVERSE
▼
UNIVERSE 5500
WAGNER
▼
WAGNER 510
EMPFÄNGER
AOR AR5000
AOR AR5000 Software
BEARCAT DX1000
HALLICRAFTERS SX-28
JRC NRD-535
MIKROFONE
ARGONNE
ASTATIC
BEYERDYNAMIC
CLARICON
FOSTER
KELLOGG
LAFAYETTE
MADER
MONACOR
MONARCH
PEWE
SHURE
SOMMERKAMP
STANDARD
ALLGEMEINES
Impressum
Museum
Shack
Station
Dokumente
Dokus Tipps
Contest
VHF-Direkt
Sommerkamp Historie
Amateurfunk DARC
Amateurfunk in Not- und Katastrophenfällen
Auszüge aus der Betriebsanleitung zum Amateurfunkgerät ATLAS 210X
DC Power Connection
Amplifier Connection
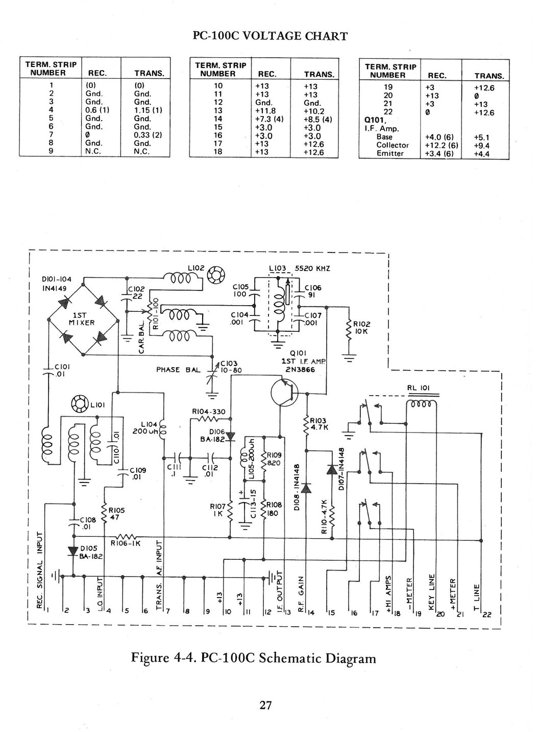
ATLAS PC-100C
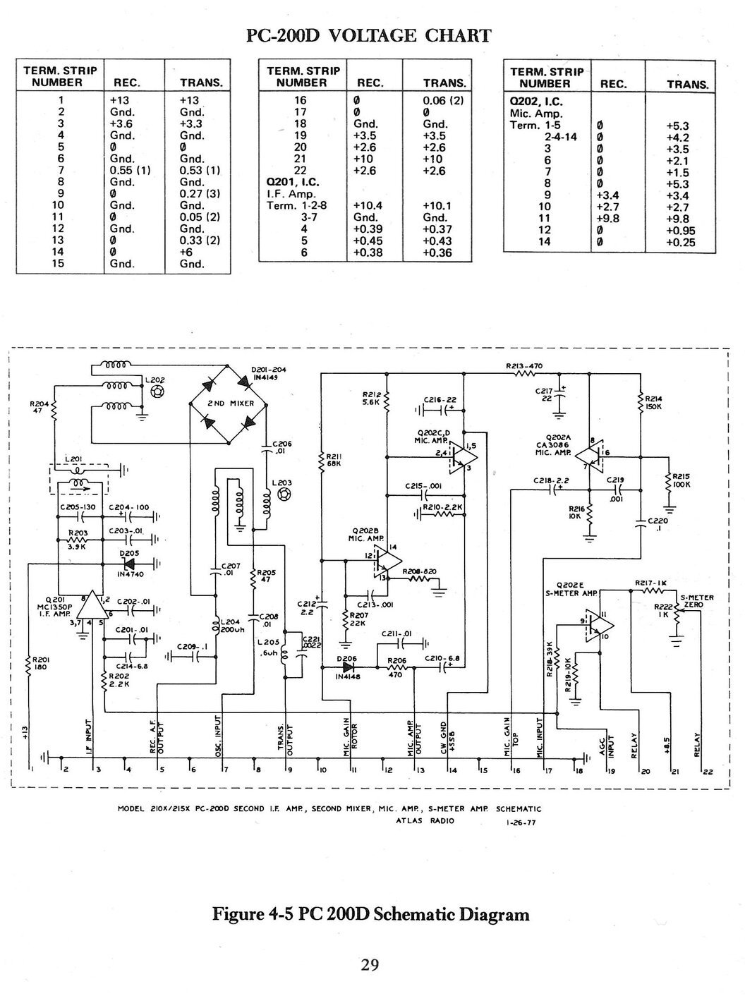
ATLAS PC-200D
ATLAS PC-300D
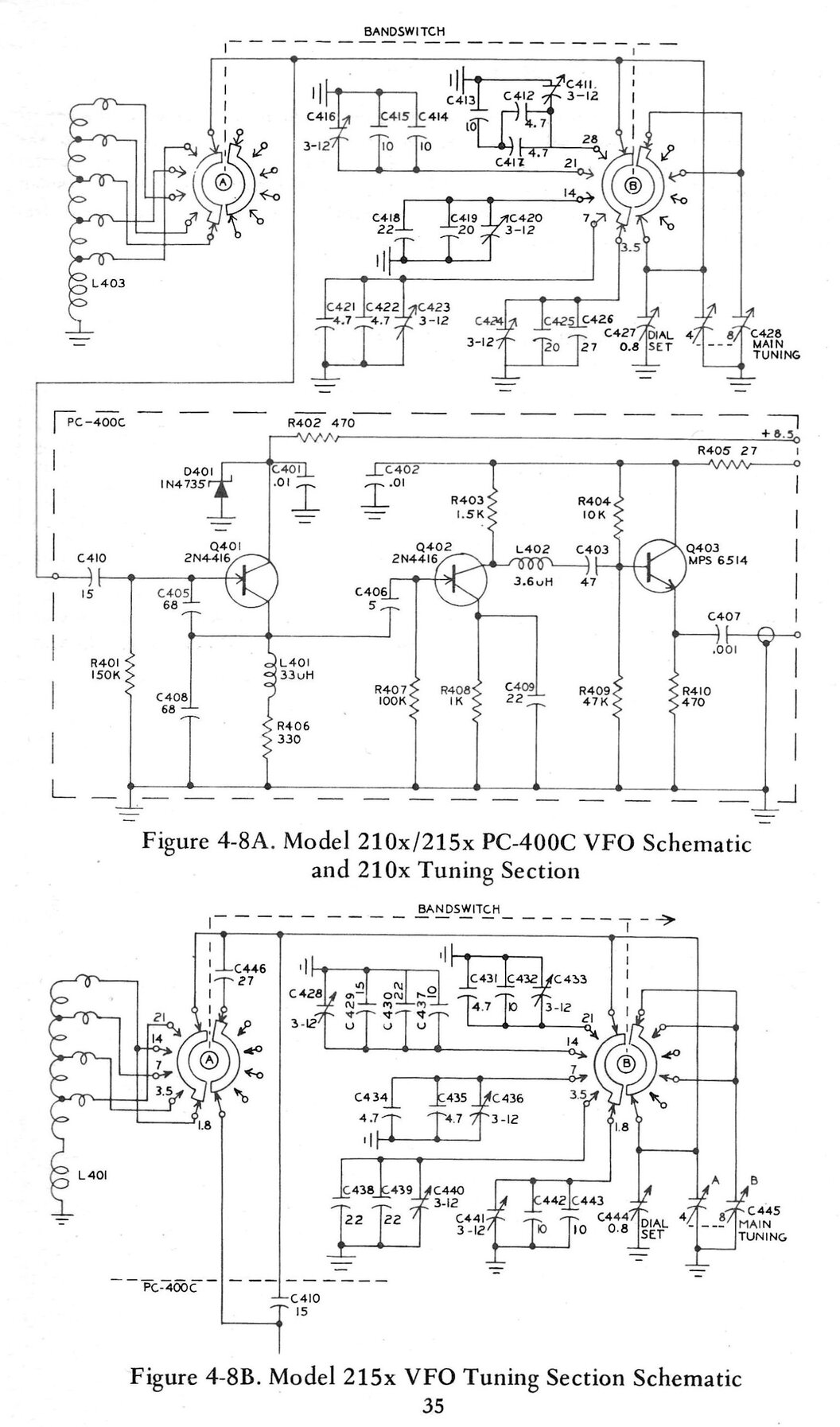
ATLAS PC-400C
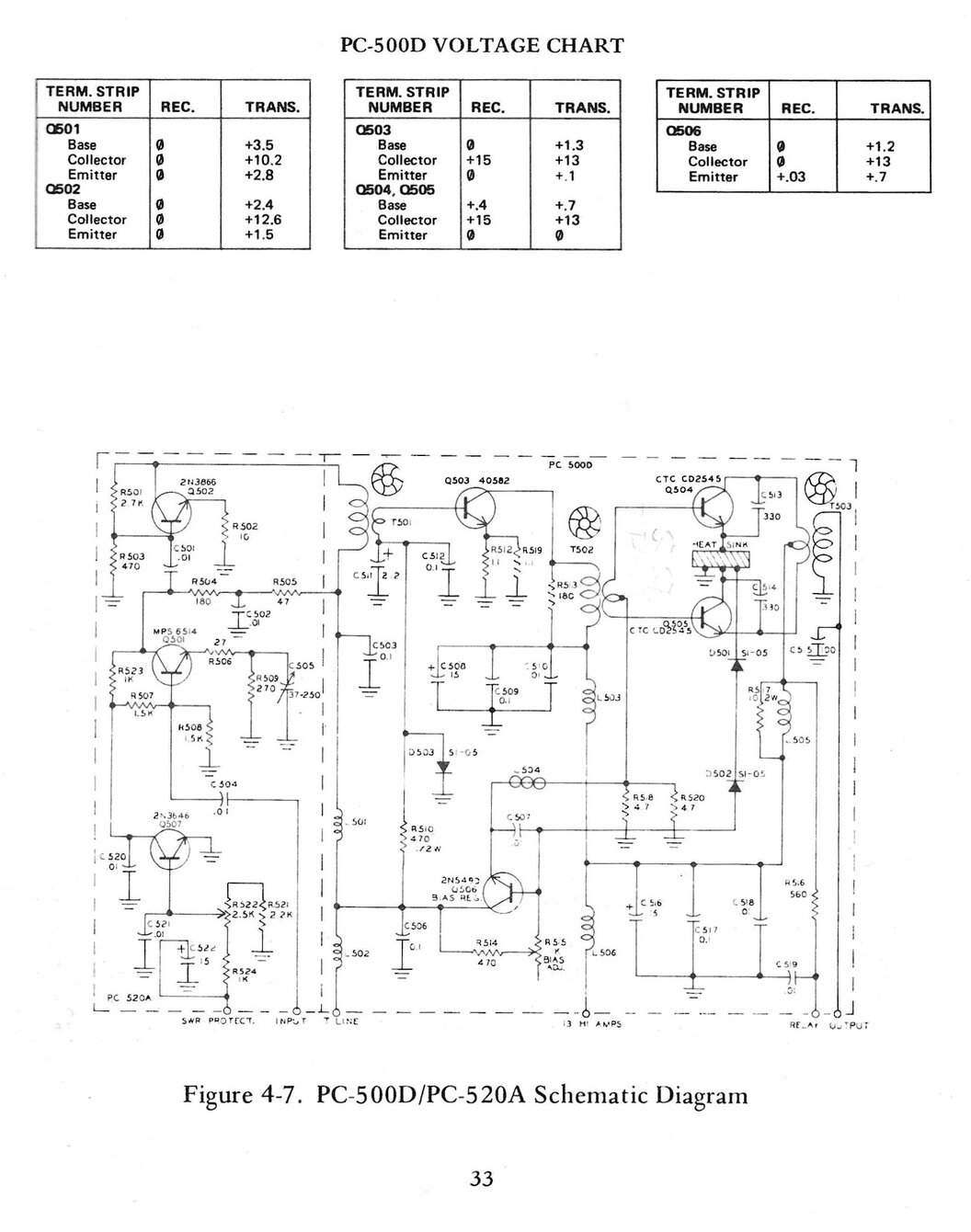
ATLAS PC-500D
ATLAS PC-600
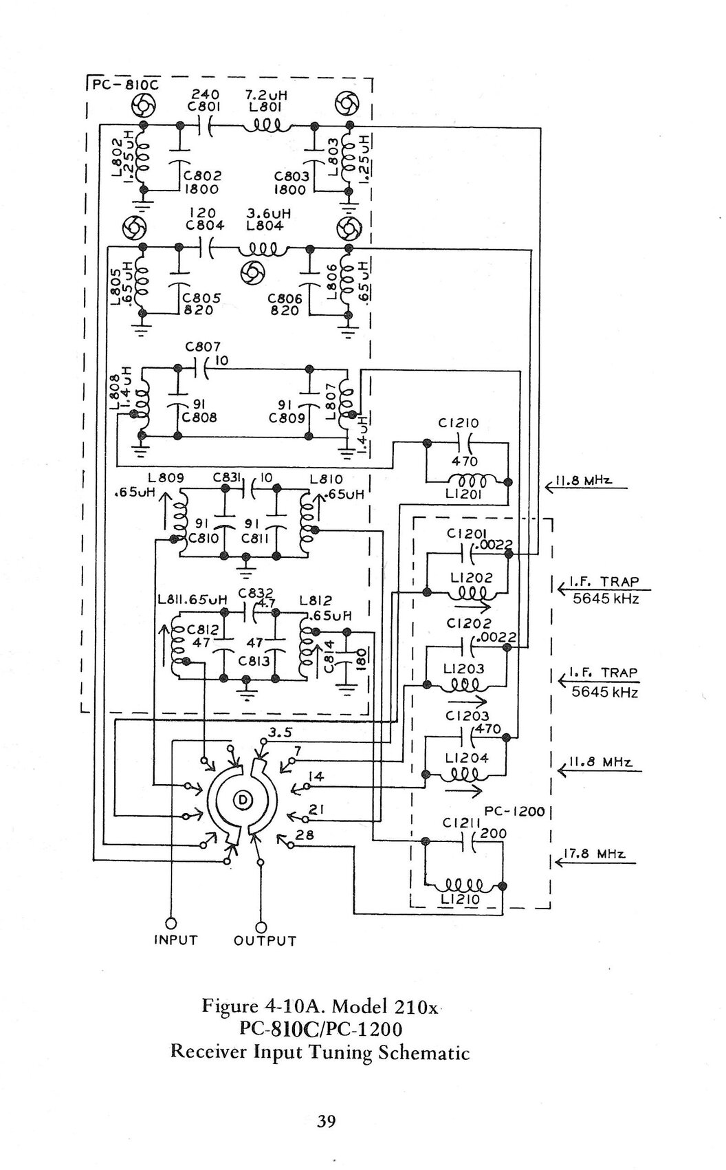
ATLAS PC-810C / PC-1200
ATLAS PC-900C
ATLAS PC-1010/1020
Zurück zum Seiteninhalt
Um diese Website nutzen zu können, aktivieren Sie bitte JavaScript.